Rozšířené hledání} Informace o členství Kontaktní informace Seznam uživatelů Kalendář Spřátelené weby Honda-club.cz Přihlásit se k emailu
[2]
Linka Uživatelské skupiny Linka Galerie avatarů Linka Kdo je online Linka
Linka Jak se stát členem klubu Linka Stáhnout stanovy sdružení Linka Výhody pro členy klubu Linka
  Obsah fóra Honda-club.cz   
Pomoc s crankshaft belt pulley
Fórum: Motor, ECU, spojka a převodovka
0
Pomohlo ti toto téma?   
Zobrazit příspěvky z předchozích:
 Řadit příspěvky dle: 
Zaslat odpověď



  Strana 1 z 1
Trso je teď offline  Trso
1 háčko
0
PříspěvekZaslal: 19.12.2009 , 21:22   Citovat  

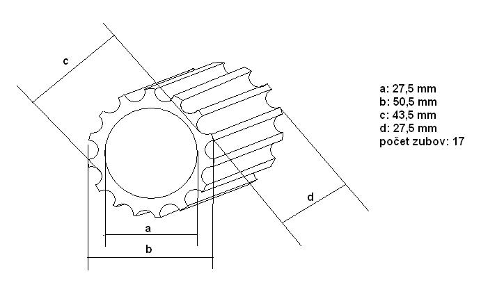
Zdravím vás, potrebujem zistiť či tento crankshaft timing belt pulley na obrázku je ten istý ako na B16A1, A2. Podarilo sa mi ho zlomiť tak zháňam další. Díky.


Trso.JPG

Zobrazení obrázku v plné velikosti.
Trso.JPG, 29.3 kB
   Pomohl ti příspěvěk? Návrat  
    
Zobrazit informace o autorovi Osobní garáž Odeslat soukromou zprávu
Příspěvky: 111 H+ body: 0 1991 CR-X  
Lord British je teď offline  Lord British
0
PříspěvekZaslal: 22.12.2009 , 15:44   Citovat  

v manualu jsi to nenasel?
   Pomohl ti příspěvěk? Návrat  
    
Zobrazit informace o autorovi Osobní garáž Odeslat soukromou zprávu
Příspěvky: 53 H+ body: 0 1991 Civic  
vti [906team] je teď offline  vti [906team]
4 háčka
0
PříspěvekZaslal: 22.12.2009 , 16:20   Citovat  

skusim ti to doma pomerat, keby som zabudol, tak mi napis sz.
   Pomohl ti příspěvěk? Návrat  
    
Zobrazit informace o autorovi Osobní garáž Odeslat soukromou zprávu
Příspěvky: 2098 H+ body: 10 1991 Civic  
Trso je teď offline  Trso
1 háčko
0
PříspěvekZaslal: 22.12.2009 , 20:14   Citovat  

Nie nenašiel, v manuáli nie sú podrobné nákresy.
Stefan díky, vidíš ty si ma ani nenapadol, mohol som ti zavolať.
   Pomohl ti příspěvěk? Návrat  
    
Zobrazit informace o autorovi Osobní garáž Odeslat soukromou zprávu
Příspěvky: 111 H+ body: 0 1991 CR-X  

  Obsah fóra Honda-club.cz   
Pomoc s crankshaft belt pulley
Fórum: Motor, ECU, spojka a převodovka
0
Pomohlo ti toto téma?   
Zobrazit příspěvky z předchozích:
 Řadit příspěvky dle: 
Zaslat odpověď



 Časy uváděny v GMT + 1 hodina  
    
Nemůžete odesílat nové téma do tohoto fóra.
Nemůžete odpovídat na témata v tomto fóru.
Nemůžete upravovat své příspěvky v tomto fóru.
Nemůžete mazat své příspěvky v tomto fóru.
Nemůžete hlasovat v tomto fóru.
Můžete k příspěvkům připojovat soubory
Můžete stahovat a prohlížet přiložené soubory
Nemůžete moderovat Vaše témata v tomto fóru.



Board Security

(104575 útoků)
::  www.honda-club.cz  :: Témata RSS TOPlist

[ Čas: 0.0885s ][ Dotazy: 43 (0.0355s) ][ GZIP on - Debug on ]